An Energy-Efficient Controller for Automated Electric Vehicles with Unknown Dynamics

Advantages

  • Improves regenerative energy recovery by 12.84% compared to a baseline PID controller
  • Eliminates the need for detailed vehicle powertrain models, enabling deployment across different EV platforms
  • Simultaneously optimizes energy efficiency and speed tracking performance
  • Adapts in real time to changing vehicle dynamics and driving conditions

Summary

Electric vehicles face persistent range limitations that restrict broader adoption. Traditional energy management and eco-driving solutions often rely on accurate vehicle powertrain models, which are difficult to obtain and vary with operating conditions. Existing regenerative braking strategies typically focus only on energy recovery, without ensuring smooth drive cycle tracking or adapting to unknown system dynamics.

This technology introduces a reinforcement learning-based controller that learns vehicle behavior in real time and optimizes control commands to maximize energy efficiency while maintaining accurate speed tracking. By eliminating the need for explicit energy consumption models, the solution adapts across varying EV platforms and conditions. Simulation results demonstrate improved tracking performance and increased total recovered energy compared to conventional PID control.

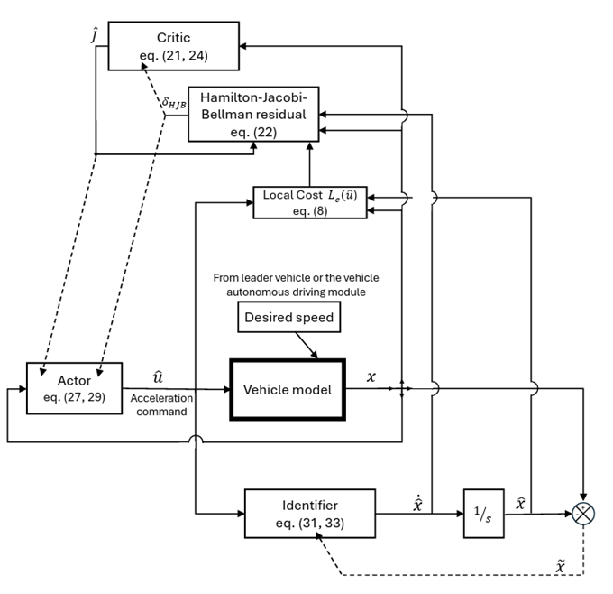
The diagram illustrates how the adaptive learning controller interacts with the vehicle system to continuously estimate dynamics and generate energy-optimized control commands.

Desired Partnerships

  • License
  • Sponsored Research
  • Co-Development
Patent Information: